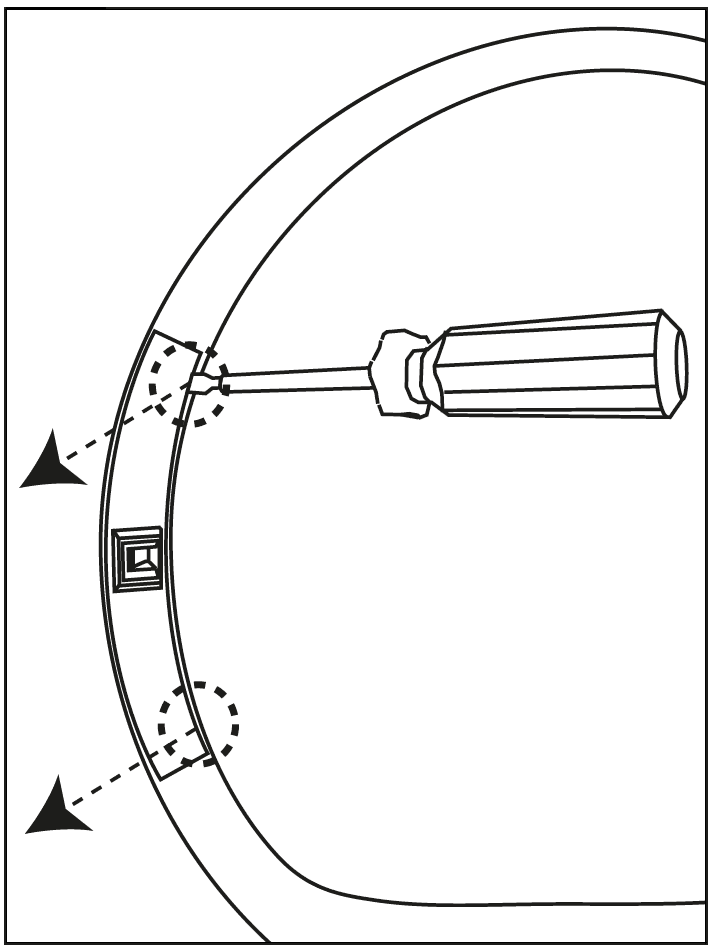
Како раставити и саставити сигурносну блокаду врата (машина за сушење веша)
Решење
Сигурност
Сви радови који се обављају унутар уређаја захтевају посебне вештине и знања и могу их обављати само квалификовани и овлашћени сервисни инжењери
Ова платформа није опремљена прекидачем за укључивање/искључивање.
Пре него што приступите унутрашњим компонентама, извадите утикач из утичнице да бисте искључили напајање.
Неке од компоненти у механичком делу могу да изазову повреде, зато носите одговарајућу заштиту и наставите са опрезом.
Увек испразните сву воду из уређаја пре него што га положите на бок.
Ако уређај мора да се постави на бок ради одржавања или из неког другог разлога, ставите га на леву страну да бисте избегли ризик од пада преостале воде на главну плочу.
Раставити


Саставите
